
產品展示
Product display連云港振港電力輔機有限公司
電話:0518-85370229
手機:15189028667
聯系人:楊經理
地址:連云港市海州區新北路1-38號
郵箱:lygzhengang@163.com
網址:http://www.pinh.cn/

我公司新型旋膜改進型除氧器是近年來研究并推廣的一種全新結構的除氧器,振港牌旋膜式除氧器采用不銹鋼波紋填料代替原來編織的Ω形網狀細絲不銹鋼網,O型圈填料,該波紋液汽網具有水流沖擊不變形、填料不脫落,分離率高,氣阻小,可對給水進行二次深度除氧等特點。振港牌旋膜式除氧器設計主要是將原射流式改為旋射膜式,是集旋膜及泡沸縮合為一體的高效能新型水膜式除氧器,具有除氧效率高,換熱均勻,耗汽量小,運行穩定,適應性能好,對水質、水溫要求不苛刻等優點,而且可超出力運行。
旋膜式除氧器(又稱膜式除氧器是一種新型熱力除氧器,是利用蒸汽將鍋爐給水加熱到對應除氧器工作壓力下的飽和溫度,除去溶解于給水的氧及其它氣體,防止和降低鍋爐給水管、省煤器和其它附屬設備的腐蝕.可用于定壓、滑壓等方式運行。旋膜式除氧器適用于各類電力系統鍋爐、工業鍋爐給水及熱電廠補給水的除氧。 |
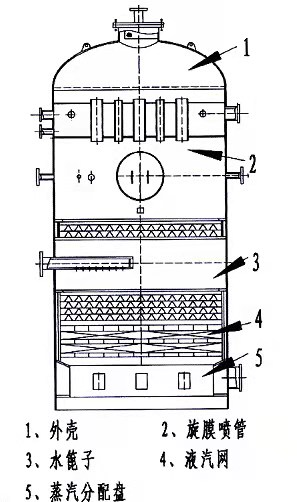
除氧器結構圖:
|
二、除氧器原理:
新型旋膜改進型除氧器的傳熱,傳質方式與已有的淋水盤式、旋膜式和霧化式不同,主要是將射流,旋轉膜和縣掛式泡佛三種傳熱方式縮化為一體的傳熱、傳質方式,它具有很高的效率。新型旋射膜管具有很大的解析能力,并造成液膜沒管壁強力旋轉卷吸大量蒸汽,增強換熱,傳質功能,將相向泡沸改為懸掛式泡沸,提高各層中蒸汽流速高時泛點(飛濺)并能保持汽(氣)體通道;將獨立的三種傳熱、傳質裝置縮化為一體,在一個單元的部件內完成。由于它具有很高的效率和某些特殊的功能,突破了已有除氧器的技術性能。
CY-系列新型旋射膜式除氧器型號由漢語拼音字母和除氧器的主要特性數據(處理水量T/H)二部分組成。例如:CY-225T/H表示處理水量225T/H的低壓旋膜式除氧器。 |
|
|
型號 |
額定出力 |
水箱有效 |
工作溫度 |
工作壓力 |
進水溫度 |
設計溫度 |
設備重量 |
|
CY-10 |
10 |
5 |
104 |
0.02 |
20 |
250 |
3680 |
|
CY-20 |
20 |
10 |
104 |
0.02 |
20 |
250 |
4570 |
|
CY-35 |
35 |
15 |
104 |
0.02 |
20 |
250 |
5355 |
|
CY-40 |
40 |
20 |
104 |
0.02 |
20 |
250 |
6150 |
|
CY-50 |
50 |
22 |
104 |
0.02 |
20 |
250 |
8250 |
|
CY-75 |
75 |
25 |
104 |
0.02 |
20 |
250 |
9445 |
|
CY-85 |
85 |
35 |
104 |
0.02 |
20 |
250 |
12200 |
|
CY-100 |
100 |
40 |
104 |
0.02 |
20 |
250 |
14805 |
|
CY-130 |
130 |
45 |
104 |
0.02 |
20 |
250 |
16250 |
|
CY-150 |
150 |
50 |
104 |
0.02 |
20 |
250 |
17500 |
|
CY-225 |
225 |
50 |
104 |
0.02 |
20 |
250 |
19600 |
|
CY-300 |
300 |
75 |
104 |
0.02 |
20 |
250 |
23885 |
壓力除氧器,壓力式旋膜除氧器,壓力式熱力除氧器
|
型號 |
額定出力 |
水箱有效 |
工作溫度 |
工作壓力 |
進水溫度 |
設計溫度 |
設備重量 |
|
CYG-200/50 |
200 |
50 |
158 |
0.58 |
20 |
300 |
22600 |
|
CYG-220/50 |
220 |
50 |
158 |
0.58 |
20 |
300 |
22886 |
|
CYG-250/60 |
250 |
60 |
158 |
0.58 |
20 |
300 |
25260 |
|
CYG-300/70 |
300 |
70 |
158 |
0.58 |
20 |
300 |
29292 |
|
CYG-350/70 |
350 |
70 |
158 |
0.58 |
20 |
300 |
30760 |
|
CYG-440/100 |
440 |
100 |
158 |
0.58 |
20 |
300 |
48266 |
|
CYG-600/140 |
600 |
140 |
158 |
0.58 |
20 |
300 |
62560 |
|
CYG-680/140 |
680 |
140 |
158 |
0.58 |
20 |
300 |
63895 |
|
CYG-710/140 |
710 |
140 |
158 |
0.58 |
20 |
300 |
65062 |
|
CYG-1080/200 |
1080 |
200 |
158 |
0.58 |
20 |
300 |
92225 |